Эффективное удаление стружки и пыли из зоны резания деревообрабатывающих станков обеспечивается за счет создания высокого разряжения воздуха, достигаемого турбиной вентилятора оригинальной конструкции.
Конструкция стружкопылесоса позволяет изменять положение турбины относительно корпуса вентилятора, что позволяет изменять производительность по очищаемому воздуху и выбрать оптимальное соотношение между производительностью и уровнем шумовой нагрузки.
В процессе работы рукавные фильтры засоряются, что приводит к возрастанию аэродинамического сопротивления в 1,5...4 раза и снижению производительности очистки. Поэтому за состоянием рукавных фильтров надо более внимательно следить, по сравнению с традиционными на основе нетканого полиэфирного волокна, где даже полное засорение фильтра приводит к снижению производительности очистки не более 15%.
| Производительность | Мощность | Накопитель | К-во входов | Фильтр | |
| СП-3200 | 3200 м³/ч | 1,5 кВт | 1 мешок | 2 | 2,8 м² |
| СП-3200 ДУ | 3200 м³/ч | 2,2 кВт | 2 мешка | 3 | 5,6 м² |
| СП-3200 ВР3 | 3200 м³/ч | 2,2 кВт | 3 мешка | 3 | 8,4 м² |
| СП-4800 | 4800 м³/ч | 3,0 кВт | 1 мешок | 4 | 2,8 м² |
| СП-4800 ДУ | 4800 м³/ч | 3,0(4,0) кВт | 2 мешка | 4 | 5,6 м² |
| СП-4800 ВР3 | 4800 м³/ч | 3,0(4,0) кВт | 3 мешка | 4 | 8,4 м² |
| СР-3200 | 3200 м³/ч | 1,5 кВт | 1 мешок | 2 | 5,2 м² |
| СР-3200Ц | 3200 м³/ч | 1,5 кВт | циклон | 2 | 5,2 м² |
| СР-4800 | 4800 м³/ч | 3,0 кВт | 1 мешок | 4 | 5,2 м² |
| СР-4800 ББ | 4800 м³/ч | 3,0(4,0) кВт | 1 биг/бег | 4 | 5,2 м² |
| СР-4800 ДУ | 4800 м³/ч | 3,0(4,0) кВт | 2 мешка | 4 | 10,4 м² |
-гофрированный рукав Ø125 мм длинной 6 метров
-электромагнитный пускатель с тепловым реле защиты закрытого типа, исполнения IP 54 типа ПМЛ-1220 с кнопкой стоп-пуск, установленный и смонтированный на корпусе аспирации
-соответствеющее количество фильтров и мешков накопителей.
| Рукав гофрированный ø 125 полиуретановый, за 1 м |
| Рукав гофрированный ø 125 пхв, за 1 м |
| Рукав гофрированный в ассортименте, за 1 м |
| Фильтр в виде мешка 1 м. |
| Фильтр в виде мешка 1,5 м. |
| Рукавные фильтра 2 м. |
| Рукавные фильтра 3 м. |
| Мешок накопитель |
СП - 3200 в номинальном режиме при постоянной работе (мощность двигателя 1,5 или 2,2 кВт), гарантированно обслуживает такие сочетания оборудования, как 2 фрезерных станка ФСШ-1А, фрезерный + фуговальный 400 мм или комбинации аналогич-ного оборудования.
| Максимальная производительность по воздуху, новый фильтровальный мешок, м³/час | 3200 |
| Максимальная производительность по воздуху, загрязненный фильтровальный мешок, м³/час | 2880 |
| Эффективность очистки воздуха, %, не менее | 95 |
| Материал рабочего колеса | Алюминиевый сплав АК7ч,ГОСТ 1583-89 |
| Объем мешка накопителя, м³ | 0,22 |
| Количество мешков накопителей, шт. | 1 |
| Количество всасывающих патрубков Ø 125, шт. | 2 (или в соответствии с требованиями) |
| Среднее квадратическое значение виброскорости. мм/с, не более | 6,3 |
| Диаметр гибких воздуховодов, мм | 125 |
| Мощность электродвигателя, кВт | 1,5(2,2) |
| Суммарный уровень звука, дБА, не более | 78 |
| Масса, кг, не более | 65 |
| Габаритные размеры, мм, не более длина ширина высота |
1075 555 2600 |
| Род тока | Переменный, трехфазный |
| Номинальное напряжение, В | 380 |
| Номинальный ток, А | 3,5...4,9 (в зависимости от режима работы) |
| Номинальная частота, Гц | 50 |
| Номинальная частота вращения вала двигателя, об/мин | 2860 |
| Потребляемая мощность, кВт, не более | 1,3...2,0 (в зависимости от режима работы) |
| Сечение жил кабеля | КГ 3х2,5+1х1,5 |
| Наружный диаметр кабеля, мм | 10-12 |
1 – при максимальном, 2 – при минимальном зазоре между рабочим колесом и языком улитки корпуса вентилятора стружкопылесоса
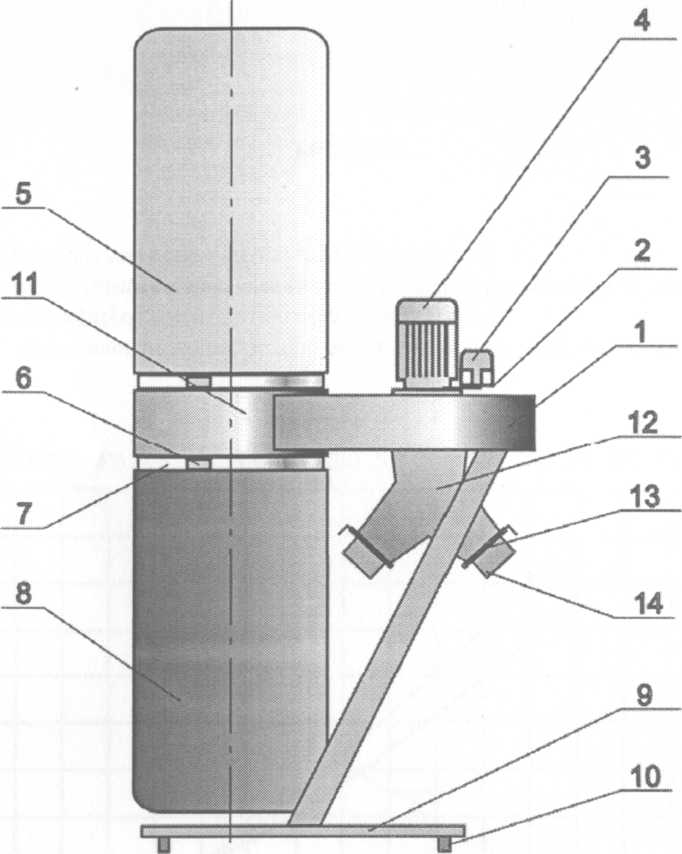
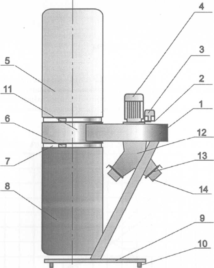
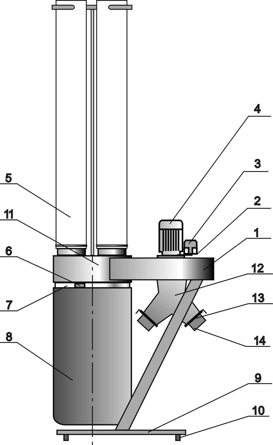
Промышленная аспирация (стружкопылесос) СП-3200 изготовлен на базе вентилятора высокого давления поз. 1, совмещенного с обечайкой поз. 11, которые составляют единое целое и являются корпусом аспирации. Корпус закреплен на двух опорах, установленных на основании поз. 9, оборудованном шестью виброизоляторами поз. 10.Воздух с древесной стружкой по гибкому воздуховоду, надетому на выходной патрубок поз. 14 коллектора поз. 12, попадает в улитку вентилятора, где древесная стружка приобретает высокую окружную скорость по касательной и попадает в обечайку поз. 11, где имеется винтовой сегмент, осаждающий стружку и твердые включения в мешок-накопитель поз. 8. Винтовой сегмент не позволяет стружке постоянно перемешиваться в объеме фильтровально-накопительного пространства аспирации и защищает фильтровальный мешок поз. 5. Отфильтрованный воздух через фильтровальный мешок возвращается обратно в помещение. Мешок-накопитель закреплен на обечайке обручем поз. 7 из стальной пружинной ленты и защелками поз. 6.
Двигатель фланцевого исполнения закреплен на корпусе шестью винтами М5 через промежуточный эксцентрический диск, который позволяет при повороте изменять расстояние от кромки рабочего колеса к язычку улитки корпуса вентилятора.
На корпусе двигателя, на кронштейне поз. 2 установлен электромагнитный пускатель поз. 3 с тепловым реле типа ПМЛ–1220, имеющий степень защиты IP 54 по ГОСТ 14254 – 96.
Конструкция, общие виды стружкопылесоса СП-3200.
Аспирация стружкопылесос СП-3200.
Имеет два мешочных фильтра и два мешка накопителя. Фильтры общей площадью 5,6 м.кв. снижают аэродинамическое сопротивление, нагрузку на двигатель, повышают производительность по воздуху по мере загрязнения фильтров. Два мешка накопителя больше вмещают стружки и позволяют реже удалять отходы.
СП - 3200ДУ, в номинальном режиме при постоянной работе (мощность двигателя 2,2 кВт), гарантированно, с запасом, обслуживает такие сочетания оборудования, как 2...3 фрезерных станка ФСШ-1А, фрезерный + фуговальный 400 мм или комбинации аналогичного оборудования.
| Максимальная производительность по воздуху, новый фильтровальный мешок, м³/час | 3200 |
| Максимальная производительность по воздуху, загрязненный фильтровальный мешок, м³/час | 2880 |
| Эффективность очистки воздуха, %, не менее | 95 |
| Материал рабочего колеса | Алюминиевый сплав АК7ч,ГОСТ 1583-89 |
| Объем мешка накопителя, м³ | 0,22 |
| Количество мешков накопителей, шт. | 2 |
| Количество всасывающих патрубков Ø 125, шт. | 3 (или в соответствии с требованиями Потребителя) |
| Среднее квадратическое значение виброскорости. мм/с, не более | 6,3 |
| Диаметр гибких воздуховодов, мм | 125 |
| Мощность электродвигателя, кВт | 2,2 |
| Суммарный уровень звука, дБА, не более | 80 |
| Масса, кг, не более | 90 |
| Габаритные размеры, мм, не более длина ширина высота |
1255 1060 2600 |
| Род тока | Переменный, трехфазный |
| Номинальное напряжение, В | 380 |
| Номинальный ток, А | 3,5...4,9 (в зависимости от режима работы) |
| Номинальная частота, Гц | 50 |
| Номинальная частота вращения вала двигателя, об/мин | 2860 |
| Потребляемая мощность, кВт, не более | 1,3...2,0 (в зависимости от режима работы) |
| Сечение жил кабеля | КГ 3х2,5+1х1,5 |
| Наружный диаметр кабеля, мм | 10-12 |
1 – при максимальном, 2 – при минимальном зазоре между рабочим колесом и языком улитки корпуса вентилятора стружкопылесоса
Промышленная аспирация (стружкопылесос) СП-3200ДУ изготовлен на базе вентилятора высокого давления поз. 1, совмещенного с обечайкой поз. 11, которые составляют единое целое и являются корпусом аспирации. Корпус закреплен на двух опорах, установленных на основании поз. 9, оборудованном шестью виброизоляторами поз. 10.Воздух с древесной стружкой по гибкому воздуховоду, надетому на вы-ходной патрубок поз. 14 коллектора поз. 12, попадает в улитку вентилятора, где древесная стружка приобретает высокую окружную скорость по касательной и попадает в обечайку поз. 11, где имеется винтовой сегмент, осаждающий стружку и твердые включения в мешок-накопитель поз. 8. Винтовой сегмент не позволяет стружке постоянно перемешиваться в объеме фильтровально-накопительного пространства аспирации и защищает фильтровальный мешок поз. 5. Отфильтрованный воздух через фильтровальный мешок возвращается обратно в помеще-ние. Мешок-накопитель закреплен на обечайке обручем поз. 7 из стальной пружинной ленты и защелками поз. 6.
Двигатель фланцевого исполнения закреплен на корпусе шестью винтами М5 через промежуточный эксцентрический диск, который позволяет при повороте изменять расстояние от кромки рабочего колеса к язычку улитки корпуса вентилятора.
Имеет три мешочных фильтра и три мешка накопителя. Фильтры общей площадью 7,4 м.кв. снижают аэродинамическое сопротивление, нагрузку на двигатель, повышают производительность по воздуху по мере загрязнения фильтров. Три мешка накопителя больше вмещают стружки и позволяют реже удалять отходы.
СП-3200ВР3, в номинальном режиме при постоянной работе (мощность двигателя 2,2 кВт), гарантированно, с запасом, обслуживает такие сочетания оборудования, как 2 ... 3 фрезерных станка ФСШ-1А, фрезерный + фуговальный 400 мм или комбинации аналогичного оборудования.
| Максимальная производительность по воздуху, новый фильтровальный мешок, м³/час | 3200 |
| Максимальная производительность по воздуху, загрязненный фильтровальный мешок, м³/час | 2880 |
| Эффективность очистки воздуха, %, не менее | 95 |
| Материал рабочего колеса | Алюминиевыйсплав АК7ч, ГОСТ 1583-89 |
| Объем мешка накопителя, м³ | 0,22 |
| Количество мешков накопителей, шт. | 3 |
| Количество всасывающих патрубков Ø 125, шт. | 3 (или в соответствии с требованиями Потребителя) |
| Среднее квадратическое значение виброскорости. мм/с, не более | 6,3 |
| Диаметр гибких воздуховодов, мм | 125 |
| Мощность электродвигателя, кВт | 2,2 |
| Суммарный уровень звука, дБА, не более | 80 |
| Масса, кг, не более | 110 |
| Габаритные размеры, мм, не более длина ширина высота |
2550 560 2600 |
| Род тока | Переменный, трехфазный |
| Номинальное напряжение, В | 380 |
| Номинальный ток, А | 3,5...4,9 (в зависимости от режима работы) |
| Номинальная частота, Гц | 50 |
| Номинальная частота вращения вала двигателя, об/мин | 2860 |
| Потребляемая мощность, кВт, не более | 1,3...2,0 (в зависимости от режима работы) |
| Сечение жил кабеля | КГ 3х2,5+1х1,5 |
| Наружный диаметр кабеля, мм | 10-12 |
1 – при максимальном, 2 – при минимальном зазоре между рабочим колесом и языком улитки корпуса вентилятора стружкопылесоса
СП - 4800, в номинальном режиме при постоянной работе (мощность двигателя 3,0 кВт), гарантированно обслуживает такие сочетания оборудования, как 3...4 фрезерных станка ФСШ-1А, 2-а фрезерных + фуговальный 400 мм или комбинации аналогичного оборудования. Применяется при небольшом количестве отходов, но одновременной работе 3...4 единиц оборудования.
| Максимальная производительность по воздуху, новый фильтровальный мешок, м³/час | 4800 |
| Максимальная производительность по воздуху, загрязненный фильтровальный мешок, м³/час | 4320 |
| Эффективность очистки воздуха, %, не менее | 95 |
| Материал рабочего колеса | Алюминиевый сплав АК7ч,ГОСТ 1583-89 |
| Объем мешка накопителя, м³ | 0,22 |
| Количество мешков накопителей, шт. | 1 |
| Количество всасывающих патрубков Ø 125, шт. | 3...4 (или в соответствии с требованиями Потребителя) |
| Среднее квадратическое значение виброскорости. мм/с, не более | 6,3 |
| Диаметр гибких воздуховодов, мм | 125 |
| Мощность электродвигателя, кВт | 3,0 |
| Суммарный уровень звука, дБА, не более | 78 |
| Масса, кг, не более | 75 |
| Габаритные размеры, мм, не более длина ширина высота |
1155 660 2655 |
| Род тока | Переменный, трехфазный |
| Номинальное напряжение, В | 380 |
| Номинальный ток, А | 6,6 (в зависимости от режима работы) |
| Номинальная частота, Гц | 50 |
| Номинальная частота вращения вала двигателя, об/мин | 2860 |
| Потребляемая мощность, кВт, не более | 2,4 (в зависимости от режима работы) |
| Сечение жил кабеля | КГ 3х2,5+1х1,5 |
| Наружный диаметр кабеля, мм | 10-12 |
1 – при максимальном, 2 – при минимальном зазоре между рабочим колесом и языком улитки корпуса вентилятора стружкопылесоса
Промышленная аспирация (стружкопылесос) СП-4800 изготовлена на базе вентилятора высокого давления поз. 1, совмещенного с обечайкой поз. 11, которые составляют единое целое и являются корпусом аспирации. Корпус закреплен на двух опорах, установленных на основании поз. 9, оборудованном шестью виброизоляторами поз. 10.
Воздух с древесной стружкой по гибкому воздуховоду, надетому на выходной патрубок поз. 14 коллектора поз. 12, попадает в улитку вентилятора, где древесная стружка приобретает высокую окружную скорость по касательной и попадает в обе-чайку поз. 11, где имеется винтовой сегмент, осаждающий стружку и твердые включения в мешок-накопитель поз. 8. Винтовой сегмент не позволяет стружке постоянно перемешиваться в объеме фильтровально-накопительного пространства аспирации и защищает фильтровальный мешок поз. 5. Отфильтрованный воздух через филь-тровальный мешок возвращается обратно в помещение. Мешок-накопитель закреплен на обечайке обручем поз. 7 из стальной пружинной ленты и защелками поз. 6.
Двигатель фланцевого исполнения закреплен на корпусе шестью винтами М5 через промежуточный эксцентрический диск, который позволяет при повороте изменять расстояние от кромки рабочего колеса к язычку улитки корпуса вентилятора.
На корпусе двигателя, на кронштейне поз. 2 установлен электромагнитный пускатель поз. 3 с тепловым реле типа ПМЛ–1220, имеющий степень защиты IP 54 по ГОСТ 14254 – 96.
Это вторая из моделей, пользующихся наибольшим спросом и популярностью, аспирация СП-4800 ДУ (мешочный фильтр, двойная угловая, серия аспираций малой производительности)
Данная модель позволяет обеспечить очистку воздуха при работе одновременно 4 единиц оборудования, таких как фрезерный ФСШ-1А, фуговальный 400 мм или аналогичные. Это означает что Потребитель купив одну аспирацию СП-4800 ДУ может подключить 4...6 единиц оборудования и одновременно работать на 3...4. Т.е. одна аспирация может обеспечить приемлемые условия для работы небольшого деревообрабатывающего участка.
| Максимальная производительность по воздуху, новый фильтровальный мешок, м³/час | 4800 |
| Максимальная производительность по воздуху, загрязненный фильтровальный мешок, м³/час | 4320 |
| Эффективность очистки воздуха, %, не менее | 95 |
| Материал рабочего колеса | Алюминиевый сплав АК7ч,ГОСТ 1583-89 |
| Объем мешка накопителя, м³ | 0,22 |
| Количество мешков накопителей, шт. | 2 |
| Количество всасывающих патрубков Ø 125, шт. | 4 (или в соответствии с требованиями Потребителя) |
| Среднее квадратическое значение виброскорости. мм/с, не более | 6,3 |
| Диаметр гибких воздуховодов, мм | 125 |
| Мощность электродвигателя, кВт | 3,0(4,0) |
| Суммарный уровень звука, дБА, не более | 80 |
| Масса, кг, не более | 94 |
| Габаритные размеры, мм, не более длина ширина высота |
1215 1150 2655 |
| Род тока | Переменный, трехфазный |
| Номинальное напряжение, В | 380 |
| Номинальный ток, А | 6,6...8,4(в зависимости от режима работы) |
| Номинальная частота, Гц | 50 |
| Номинальная частота вращения вала двигателя, об/мин | 2860 |
| Потребляемая мощность, кВт, не более | 2,5...3,5 (в зависимости от режима работы) |
| Сечение жил кабеля | КГ 3х2,5+1х1,5 |
| Наружный диаметр кабеля, мм | 10-12 |
1 – при максимальном, 2 – при минимальном зазоре между рабочим колесом и языком улитки корпуса вентилятора стружкопылесоса
Промышленная аспирация (стружкопылесос) СП-4800ДУ изготовлена на базе венти-лятора высокого давления поз. 1, совмещенного с обечайкой поз. 11, кото-рые составляют единое целое и являются корпусом аспирации. Корпус закреплен на двух опорах, установленных на основании поз. 9, оборудованном шестью виброизо-ляторами поз. 10.
Воздух с древесной стружкой по гибкому воздуховоду, надетому на выходной патрубок поз. 14 коллектора поз. 12, попадает в улитку вентилятора, где древесная стружка приобретает высокую окружную скорость по касательной и попадает в обе-чайку поз. 11, где имеется винтовой сегмент, осаждающий стружку и твердые вклю-чения в мешок-накопитель поз. 8. Винтовой сегмент не позволяет стружке постоянно перемешиваться в объеме фильтровально-накопительного пространства аспирации и защищает фильтровальный мешок поз. 5. Отфильтрованный воздух через филь-тровальный мешок возвращается обратно в помещение. Мешок-накопитель закреп-лен на обечайке обручем поз. 7 из стальной пружинной ленты и защелками поз. 6.
Двигатель фланцевого исполнения закреплен на корпусе шестью винтами М5 через промежуточный эксцентрический диск, который позволяет при повороте изме-нять расстояние от кромки рабочего колеса к язычку улитки корпуса вентилятора.
На корпусе двигателя, на кронштейне поз. 2 установлен электромагнитный пускатель поз. 3 с тепловым реле типа ПМЛ–1220, имеющий степень защиты IP 54 по ГОСТ 14254 – 96.
Имеет три мешочных фильтра и три мешка накопителя. Фильтры площадью 7,4 м.кв. снижают аэродинамическое сопротивление, нагрузку на двигатель, повышает производительность по воздуху по мере загрязнения фильтров. Три мешка накопителя вмещают больше стружки и позволяют реже удалять отходы.
Данная модель позволяет обеспечить очистку воздуха при работе одновременно 4 единиц оборудования, таких как фрезерный ФСШ-1А, фуговальный 400 мм или аналогичные. Это означает что Потребитель купив одну аспирацию СП-4800ВР3 может подключить 4...6 единиц оборудования и одновременно работать на 3...4. Т.е. одна аспирация может обеспечить приемлемые условия для работы небольшого деревообрабатывающего участка.
| Максимальная производительность по воздуху, новый фильтровальный мешок, м³/час | 4800 |
| Максимальная производительность по воздуху, загрязненный фильтровальный мешок, м³/час | 4320 |
| Эффективность очистки воздуха, %, не менее | 95 |
| Материал рабочего колеса | Алюминиевый сплав АК7ч,ГОСТ 1583-89 |
| Объем мешка накопителя, м³ | 0,22 |
| Количество мешков накопителей, шт. | 3 |
| Количество всасывающих патрубков Ø 125, шт. | 4 (или в соответствии с требованиями Потребителя) |
| Среднее квадратическое значение виброскорости. мм/с, не более | 6,3 |
| Диаметр гибких воздуховодов, мм | 125 |
| Мощность электродвигателя, кВт | 3,0(4,0) |
| Суммарный уровень звука, дБА, не более | 78 |
| Масса, кг, не более | 100 |
| Габаритные размеры, мм, не более длина ширина высота |
2650 660 2655 |
| Род тока | Переменный, трехфазный |
| Номинальное напряжение, В | 380 |
| Номинальный ток, А | 6,6...8,4 (в зависимости от режима работы) |
| Номинальная частота, Гц | 50 |
| Номинальная частота вращения вала двигателя, об/мин | 2860 |
| Потребляемая мощность, кВт, не более | 2,5...3,5 (в зависимости от режима работы) |
| Сечение жил кабеля | КГ 3х2,5+1х1,5 |
| Наружный диаметр кабеля, мм | 10-12 |
1 – при максимальном, 2 – при минимальном зазоре между рабочим колесом и языком улитки корпуса вентилятора стружкопылесоса
СР-3200 позволяет эксплуатировать шлифовальное деревообрабатывающее оборудование при необходимости очистки воздуха до 3200 м³./ час, как например ШЛПС. Применение данной аспирации обязательно рассматривается и согласуется со специалистами нашего предприятия, потому что шлифовальное оборудование требует значительной производительности по воздуху. Применяется в различных отраслях промышленности (пищевая, целлюлозно-бумажная, строительство и др.) где возникает необходимость очистить воздух от пыли.
| Максимальная производительность по воздуху, новый фильтровальный мешок, м³/час | 3200 |
| Максимальная производительность по воздуху, загрязненный фильтровальный мешок, м³/час | 2880 |
| Эффективность очистки воздуха, %, не менее | 95 |
| Материал рабочего колеса | Алюминиевый сплав АК7ч,ГОСТ 1583-89 |
| Объем мешка накопителя, м³ | 0,22 |
| Количество мешков накопителей, шт. | 1 |
| Количество всасывающих патрубков Ø 125, шт. | 2 (или в соответствии с требованиями Потребителя) |
| Среднее квадратическое значение виброскорости. мм/с, не более | 6,3 |
| Диаметр гибких воздуховодов, мм | - |
| Мощность электродвигателя, кВт | 1,5(2,2) |
| Суммарный уровень звука, дБА, не более | 78 |
| Масса, кг, не более | 85 |
| Габаритные размеры, мм, не более длина ширина высота |
1075 600 3150 |
| Род тока | Переменный, трехфазный |
| Номинальное напряжение, В | 380 |
| Номинальный ток, А | 3,5...4,9 (в зависимости от режима работы) |
| Номинальная частота, Гц | 50 |
| Номинальная частота вращения вала двигателя, об/мин | 2860 |
| Потребляемая мощность, кВт, не более | 1,3...2,0 (в зависимости от режима работы) |
| Сечение жил кабеля | КГ 3х2,5+1х1,5 |
| Наружный диаметр кабеля, мм | 10-12 |
1 – при максимальном, 2 – при минимальном зазоре между рабочим колесом и языком улитки корпуса вентилятора стружкопылесоса
Промышленный стружкопылесос СР-3200 изготовлен на базе вентилятора высокого давления поз. 1, совмещенного с обечайкой поз. 11, которые составляют единое целое и являются корпусом стружкопылесоса. Корпус закреплен на двух опорах, установленных на основании поз. 9, оборудованном шестью виброизоляторами поз. 10.
Воздух с древесной стружкой по гибкому воздуховоду, надетому на выходной патрубок поз. 14 коллектора поз. 12, попадает в улитку вентилятора, где древесная стружка приобретает высокую окружную скорость по касательной и попадает в обечайку поз. 11, где имеется винтовой сегмент, осаждающий стружку и твердые включения в мешок-накопитель поз. 8. Винтовой сегмент не позволяет стружке постоянно перемешиваться в объеме фильтровально-накопительного пространства аспирации и защищает фильтровальный рукав поз.
Отфильтрованный воздух через фильтровальный рукав возвращается обратно в помещение. Мешок-накопитель закреплен на обечайке обручем поз. 7 из стальной пружинной ленты и защелками поз. 6.
Двигатель фланцевого исполнения закреплен на корпусе шестью винтами М5 через промежуточный эксцентрический диск, который позволяет при повороте изменять расстояние от кромки рабочего колеса к язычку улитки корпуса вентилятора.
На корпусе двигателя, на кронштейне поз. 2 установлен электромагнитный пускатель поз. 3 с тепловым реле типа ПМЛ–1220, имеющий степень защиты IP 54 по ГОСТ 14254 – 96.
СР-3200Ц, имея предварительный фильтр в виде циклона, эффективно используется для очистки воздуха от металлической, металлопластиковой стружки и пыли с высокими абразивными свойствами. Аспирация СР-3200Ц находит применение в металлообработке, машиностроении, производстве металлопластиковых окон и других отраслях промышленности со сходными условиями эксплуатации.
| Максимальная производительность по воздуху, новый фильтровальный мешок, м³/час | 3200 |
| Максимальная производительность по воздуху, загрязненный фильтровальный мешок, м³/час | 2880 |
| Эффективность очистки воздуха, %, не менее | 95 |
| Материал рабочего колеса | Алюминиевый сплав АК7ч,ГОСТ 1583-89 |
| Объем мешка накопителя, м³ | 0,22 |
| Количество мешков накопителей, шт. | Циклон с ручной периодической очисткой |
| Количество всасывающих патрубков | В соответствии с требованиями Потребителя |
| Среднее квадратическое значение виброскорости. мм/с, не более | 6,3 |
| Диаметр гибких воздуховодов, мм | - |
| Мощность электродвигателя, кВт | 1,5(2,2) |
| Суммарный уровень звука, дБА, не более | 78 |
| Масса, кг, не более | 95 |
| Габаритные размеры, мм, не более | |
| Габаритные размеры, мм, не более длина ширина высота |
1075 600 3150 |
| Род тока | Переменный, трехфазный |
| Номинальное напряжение, В | 380 |
| Номинальный ток, А | 3,5...4,9 (в зависимости от режима работы) |
| Номинальная частота, Гц | 50 |
| Номинальная частота вращения вала двигателя, об/мин | 2860 |
| Потребляемая мощность, кВт, не более | 1,3...2,0 (в зависимости от режима работы) |
| Сечение жил кабеля | КГ 3х2,5+1х1,5 |
| Наружный диаметр кабеля, мм | 10-12 |
1 – при максимальном, 2 – при минимальном зазоре между рабочим колесом и языком улитки корпуса вентилятора стружкопылесоса
СР-4800 позволяет эксплуатировать шлифовальное деревообрабатывающее оборудование при необходимости очистки воздуха до 4800 м³./ час. Применение данной аспирации обязательно рассматривается и согласуется со специалистами нашего предприятия. Потому что шлифовальное оборудование требует значительной производительности по воздуху. Применяется также широко в различных отраслях промышленности (пищевая, целлюлозно-бумажная, строительство и др.) где возникает необходимость очистить воздух от пыли.
| Максимальная производительность по воздуху, новый фильтровальный мешок, м³/час | 4800 |
| Максимальная производительность по воздуху, загрязненный фильтровальный мешок, м³/час | 4320 |
| Эффективность очистки воздуха, %, не менее | 95 |
| Материал рабочего колеса | Алюминиевый сплав АК7ч,ГОСТ 1583-89 |
| Объем мешка накопителя, м³ | 0,22 |
| Количество мешков накопителей, шт. | 1 |
| Количество всасывающих патрубков Ø 125, шт. | 3...4 (или в соответствии с требованиями Потребителя) |
| Среднее квадратическое значение виброскорости. мм/с, не более | 6,3 |
| Диаметр гибких воздуховодов, мм | 125 |
| Мощность электродвигателя, кВт | 3,0 |
| Суммарный уровень звука, дБА, не более | 80 |
| Масса, кг, не более | 85 |
| Габаритные размеры, мм, не более длина ширина высота |
1155 660 3230 |
| Род тока | Переменный, трехфазный |
| Номинальное напряжение, В | 380 |
| Номинальный ток, А | 6,6 (в зависимости от режима работы) |
| Номинальная частота, Гц | 50 |
| Номинальная частота вращения вала двигателя, об/мин | 2860 |
| Потребляемая мощность, кВт, не более | 2,4 (в зависимости от режима работы) |
| Сечение жил кабеля | КГ 3х2,5+1х1,5 |
| Наружный диаметр кабеля, мм | 10-12 |
1 – при максимальном, 2 – при минимальном зазоре между рабочим колесом и языком улитки корпуса вентилятора стружкопылесоса
Промышленный стружкопылесос СР-4800 изготовлен на базе вентилятора высокого давления поз. 1, совмещенного с обечайкой поз. 11, которые составляют единое целое и являются корпусом стружкопылесоса. Корпус закреплен на двух опорах, установленных на основании поз. 9, оборудованном шестью виброизоляторами поз. 10.
Воздух с древесной стружкой по гибкому воздуховоду, надетому на выходной патрубок поз. 14 коллектора поз. 12, попадает в улитку вентилятора, где древесная стружка приобретает высокую окружную скорость по касательной и попадает в обечайку поз. 11, где имеется винтовой сегмент, осаждающий стружку и твердые включения в мешок-накопитель поз. 8. Винтовой сегмент не позволяет стружке постоянно перемешиваться в объеме фильтровально-накопительного пространства аспирации и защищает фильтровальный рукав поз. 5. Отфильтрованный воздух через фильтровальный рукав возвращается обратно в помещение. Мешок-накопитель закреплен на обечайке обручем поз. 7 из стальной пружинной ленты и защелками поз. 6.
Двигатель фланцевого исполнения закреплен на корпусе шестью винтами М5 через промежуточный эксцентрический диск, который позволяет при повороте изменять расстояние от кромки рабочего колеса к язычку улитки корпуса вентилятора.
На корпусе двигателя, на кронштейне поз. 2 установлен электромагнитный пускатель поз. 3 с тепловым реле типа ПМЛ–1220, имеющий степень защиты IP 54 по ГОСТ 14254 – 96.
СР-4800ББ позволяет эксплуатировать шлифовальное деревообрабатывающее оборудование при необходимости очистки воздуха до 4800 м³./ час. Применение данной аспирации обязательно рассматривается и согласуется со специалистами нашего предприятия, потому что шлифовальное оборудование требует значительной производительности по воздуху. Применяется также широко в различных отраслях промышленности (пищевая, целлюлозно-бумажная, строительство и др.) где возникает необходимость очистить воздух от пыли. Применение биг-бега для накопления пыли и стружки и помещении биг-бега на поддон позволяют сотрудникам практически не отвлекаться на утилизацию отходов.
| Максимальная производительность по воздуху, новый фильтровальный мешок, м³/час | 4800 |
| Максимальная производительность по воздуху, загрязненный фильтровальный мешок, м³/час | 4320 |
| Эффективность очистки воздуха, %, не менее | 95 |
| Материал рабочего колеса | Алюминиевый сплав АК7ч,ГОСТ 1583-89 |
| Объем мешка накопителя, м³ | 0,8...1,0 |
| Количество мешков накопителей, шт. | 1 биг-бег |
| Количество всасывающих патрубков Ø 125, шт. | 3...4 (или в соответствии с требованиями Потребителя) |
| Среднее квадратическое значение виброскорости. мм/с, не более | 6,3 |
| Диаметр гибких воздуховодов, мм | 125 |
| Мощность электродвигателя, кВт | 3,0(4,0) |
| Суммарный уровень звука, дБА, не более | 78 |
| Масса, кг, не более | 145 |
| Габаритные размеры, мм, не более длина ширина высота |
2100 1050 3150 |
| Род тока | Переменный, трехфазный |
| Номинальное напряжение, В | 380 |
| Номинальный ток, А | 6,6...8,4 (в зависимости от режима работы) |
| Номинальная частота, Гц | 50 |
| Номинальная частота вращения вала двигателя, об/мин | 2860 |
| Потребляемая мощность, кВт, не более | 2,5...3,5 (в зависимости от режима работы) |
| Сечение жил кабеля | КГ 3х2,5+1х1,5 |
| Наружный диаметр кабеля, мм | 10-12 |
1 – при максимальном, 2 – при минимальном зазоре между рабочим колесом и языком улитки корпуса вентилятора стружкопылесоса
Промышленный стружкопылесос СР-4800ББ изготовлен на базе вентилятора вы-сокого давления поз. 1, совмещенного с обечайкой поз. 11, которые составляют единое целое и являются корпусом стружкопылесоса. Корпус закреплен на двух опорах, установленных на основании поз. 9, оборудованном шестью виброизоляторами поз. 10.
Воздух с древесной стружкой по гибкому воздуховоду, надетому на выходной патрубок поз. 14 коллектора поз. 12, попадает в улитку вентилятора, где древесная стружка приобретает высокую окружную скорость по касательной и попадает в обечайку поз. 11, где имеется винтовой сегмент, осаждающий стружку и твердые включения в мешок-накопитель поз. 8. Винтовой сегмент не позволяет стружке постоянно перемешиваться в объеме фильтровально-накопительного пространства аспирации и защищает фильтровальный рукав поз. 5. Отфильтрованный воздух через фильтровальный рукав возвращается обратно в помещение. Мешок-накопитель закреплен на обечайке обручем поз. 7 из стальной пружинной ленты и защелками поз. 6.
Двигатель фланцевого исполнения закреплен на корпусе шестью винтами М5 через промежуточный эксцентрический диск, который позволяет при повороте изменять расстояние от кромки рабочего колеса к язычку улитки корпуса вентилятора.
На корпусе двигателя, на кронштейне поз. 2 установлен электромагнитный пускатель поз. 3 с тепловым реле типа ПМЛ–1220, имеющий степень защиты IP 54 по ГОСТ 14254 – 96.
СР-4800ДУ позволяет эксплуатировать шлифовальное деревообрабатывающее оборудование большой производительности, например ленточные шлифовальные, калибровально-шлифовальные станки высокой производительности при необходимости очистки воздуха до 4800 м³./ час. Применение данной аспирации обязательно рассматривается и согласуется со специалистами нашего предприятия, потому что шлифовальное оборудование требует аспирации со значительной производительностью по воздуху. Применяется также широко в различных отраслях промышленности (пищевая, целлюлозно-бумажная, строительство и др.) где возникает необходимость очистить воздух от пыли.
| Максимальная производительность по воздуху, новый фильтровальный мешок, м³/час | 4800 |
| Максимальная производительность по воздуху, загрязненный фильтровальный мешок, м³/час | 4320 |
| Эффективность очистки воздуха, %, не менее | 95 |
| Материал рабочего колеса | Алюминиевый сплав АК7ч,ГОСТ 1583-89 |
| Объем мешка накопителя, м³ | 0,22 |
| Количество мешков накопителей, шт. | 2 |
| Количество всасывающих патрубков Ø 125, шт. | 4 (или в соответствии с требованиями Потребителя) |
| Среднее квадратическое значение виброскорости. мм/с, не более | 6,3 |
| Диаметр гибких воздуховодов, мм | 125 |
| Мощность электродвигателя, кВт | 3,0(4,0) |
| Суммарный уровень звука, дБА, не более | 80 |
| Масса, кг, не более | 110 |
| Габаритные размеры, мм, не более длина ширина высота |
1228 1164 3315 |
| Род тока | Переменный, трехфазный |
| Номинальное напряжение, В | 380 |
| Номинальный ток, А | 6,6...8,4 (в зависимости от режима работы) |
| Номинальная частота, Гц | 50 |
| Номинальная частота вращения вала двигателя, об/мин | 2860 |
| Потребляемая мощность, кВт, не более | 2,5...3,5 (в зависимости от режима работы) |
| Сечение жил кабеля | КГ 3х2,5+1х1,5 |
| Наружный диаметр кабеля, мм | 10-12 |
1 – при максимальном, 2 – при минимальном зазоре между рабочим колесом и языком улитки корпуса вентилятора стружкопылесоса
Промышленный стружкопылесос СР-4800ДУ изготовлен на базе вентилятора высокого давления поз. 1, совмещенного с обечайкой поз. 11, которые составляют единое целое и являются корпусом стружкопылесоса. Корпус закреплен на двух опорах, установленных на основании поз. 9, оборудованном шестью виброизоляторами поз. 10.
Воздух с древесной стружкой по гибкому воздуховоду, надетому на выходной патрубок поз. 14 коллектора поз. 12, попадает в улитку вентилятора, где древесная стружка приобретает высокую окружную скорость по касательной и попадает в обечайку поз. 11, где имеется винтовой сегмент, осаждающий стружку и твердые включения в мешок-накопитель поз. 8. Винтовой сегмент не позволяет стружке постоянно перемешиваться в объеме фильтровально-накопительного пространства аспирации и защищает фильтровальный рукав поз. 5. Отфильтрованный воздух через фильтровальный рукав возвращается обратно в помещение. Мешок-накопитель закреплен на обечайке обручем поз. 7 из стальной пружинной ленты и защелками поз. 6.
Двигатель фланцевого исполнения закреплен на корпусе шестью винтами М5 через промежуточный эксцентрический диск, который позволяет при повороте изменять расстояние от кромки рабочего колеса к язычку улитки корпуса вентилятора.
На корпусе двигателя, на кронштейне поз. 2 установлен электромагнитный пускатель поз. 3 с тепловым реле типа ПМЛ–1220, имеющий степень защиты IP 54 по ГОСТ 14254 – 96.
- отсутствием расходов по нагреванию воздуха, возвращаемого в производственное помещение после очистки;
- экономией электроэнергии за счет применения в стружкопылесосах менее мощных двигателей 1,5...5,0 кВт, работающих одновременно с обслуживаемым оборудованием, по сравнению с использованием более мощных 10,0...40,0 кВт двигателей, обслуживающих общую аспирационную сеть и постоянно работающих независимо от оборудования;
- снижением затрат и сокращением времени на ввод в эксплуатацию нового оборудования;
- более рациональным использованием производственных площадей, возможностью использования кран-балок;
- существенным увеличением ресурса работы оборудования и инструмента а также улучшением качества обрабатываемых поверхностей за счет полного и своевременного удаления образующихся отходов.
|
Рабочая среда |
Воздух, газовые смеси, агрессивность которых по отношению к стали обыкновенного качества и алюминиевым сплавам не превышает агрессивности воздуха, не содержащие липких веществ, твердых примесей размерами:
- сферической формы диаметром более 20 мм;
- кубической формы сечением более 15 ×15мм;
- древесную стружку любых типов со щепой сечением более 100 мм кв. и длиной более 50 мм. |
|
Окружающая среда |
Стандартная атмосфера производственных помещений и на открытом воздухе под навесом |
|
Температура рабочей среды, ºС |
От - 40 до +80 |
|
Температура окружающей среды, ºС |
От - 40 до +40 |
|
Относительная влажность воздуха при 20ºС, %, не более |
80 |
|
Колебание напряжения электрической сети, %, не более |
10 |
|
Электрическая защита электродвигателя |
Пускатель электромагнитный типа ПМЛ-1220, из-готовленный согласно ТУ У 3.11-05814256-097-97 |
|
Месторасположение агрегата при работе |
В помещении и на открытом воздухе под навесом.
При установке на открытом воздухе исключить попадание атмосферной влаги на фильтровальный мешок и мешок накопитель |
|
Среднее квадратическое значение виброскорости внешних источников вибрации, мм/с, не более |
2 |
|
Климатическое исполнение по ГОСТ 15150-69 |
Исполнение «У», «Т» 2-й категории размещения (для макроклиматических районов с умеренным и тропическим климатом), для работы на открытом воздухе под навесом и в помещениях. |
|
|
Режим работы по ГОСТ 183-74 |
S1 (продолжительный) |
|
|
Степень защиты по ГОСТ 14254-96 |
IP 40 |
|
|
Условия транспортирования и длительного хранения по ГОСТ 15150-69 |
2 (С) (средняя группа для закрытых и других помещений с естественной вентиляцией, где колебания температуры и влажности воздуха существенно меньше, чем на открытом воздухе, например, каменные, бетонные, металлические с теплоизоляцией и другие хранилища в районах с умеренным и холодным климатом.
Температура воздуха от -40ºС до +40ºС. |
|
|
Условия перевозки при местных и внутренних перемещениях |
В открытых или закрытых автомашинах с надежным креплением. При транспортировке в вертикальном положении без закрепления имеет склонность к опрокидыванию в связи с высоким расположением центра тяжести. |
|
- ДСТУ 3191-95 (ГОСТ 12.2.137-96). Оборудование для кондиционирования воздуха и вентиляции. Общиие требования безопасности. Стандарт в целом.
- ГОСТ 12.1.003-83. Шум. Общие требования безопасности. Стандарт в целом.
- ГОСТ 12.1.012-90. Вибрационная безопасность. Общие требования. Стандарт в целом.
- ГОСТ 12.2.003-91. Оборудование производственное. Общие требования безопасности. Стандарт в целом.
- ГОСТ 12.4.011-89. Средства защиты работающих. Общие требования и классификация. Раздел 2.
- ДСТУ 3186-95 (ГОСТ 30342-96). Системы вентиляционные. Методы испытания воздушных фильтров. Стандарт в целом. - ТУ У 29.2-21474050-002-2002. Стружкопылесосы СП-3200, СП-3200ДУ, СП-4800ДУ, СП-5600, СР-3200, СР-4800, СР-5600.
Стружкопылесосы позволяют обеспечить микроклимат рабочей зоны согласно требованиям:
- ДСН 3.3.6.042-99. Санитарные нормы микроклимата производственных помещений.
- ГОСТ 12.1.005-88 ССБТ. Общие санитарно-гигиенические требования к воздуху рабочей зоны.
По результатам испытаний в государственной системе сертификации Укр СЕПРО получен сертификат соответствия серии ВБ № 336123, о чем сделана запись в государственном Реестре под номером UA1.007.0017710-05.
При эксплуатации стружкопылесосов в закрытых производственных помещениях, последние должны быть оборудованы системой приточно-вытяжной вентиляции, соответствующей требованиям ГОСТ 12.4.021 и СНиП 2.04.05. Кратность воздухообмена системы приточно-вытяжной вентиляции в закрытых помещениях деревообрабатывающего производства должна обеспечивать выполнение требований ГОСТ 12.1.041 и ГОСТ12.1.005.
Предприятие ГОРЛУШКО на основании длительного опыта производства, гарантийного и послегарантийного обслуживания местных аспирационных систем подтверждает следующие показатели надежности стружкопылесосов:
- полный срок службы не менее 10 лет;
- наработка на отказ не менее 8000 часов;
- ресурс до капитального ремонта не менее 16000 часов.



















































































